The photos you provided may be used to improve Bing image processing services.
Privacy Policy
|
Terms of Use
Can't use this link. Check that your link starts with 'http://' or 'https://' to try again.
Unable to process this search. Please try a different image or keywords.
Try Visual Search
Search, identify objects and text, translate, or solve problems using an image
Drag one or more images here,
upload an image
or
open camera
Drop images here to start your search
To use Visual Search, enable the camera in this browser
All
Search
Images
Inspiration
Create
Collections
Videos
Maps
News
More
Shopping
Flights
Travel
Notebook
Top suggestions for Reciprocating Mechanism Design
Reciprocating
Linear Motion
Reciprocating
Rack and Pinion
Reciprocating Mechanism
Reciprocating
Gear Mechanism
Shaping Machine
Mechanism
Reciprocating
Engine Parts
Slider Crank
Mechanism
Simple
Reciprocating Mechanism
Rotating
Mechanism Design
Reciprocating
Engine Diagram
Mechanical Motion
Mechanisms
Reciprocating
Pump Components
Reciprocating
Spring Mechanism
Reciprocating
Swing Mechanism
Reciprocating
Motor
Reciprocating
Pump Working
Reciprocal
Motion
Reciprocator
Mechanism
90 Degree Rotation
Mechanism
Reciprocating
Movement Design
Reciprocating
Engine Assembly
Long Stroke
Reciprocating Mechanism
Mechanical Linkages
Mechanisms
Reciprocating
Punch Mechanism
Reciprocating
Engine Model
Reciprocating
Belt Mechanism
Electronic
Reciprocating Design
Reciprocating
Examples
3D Printed
Reciprocating Mechanism
Reciprocating Mechanism
Tooling
Reciprocating
Cylinder
Rotary
Reciprocating Mechanism
Reciprocating Swing Mechanism
Step by Step
Short Stroke
Reciprocating Mechanism
Motorized Reciprocating
Arm Mechanism
Reciprocating Mechanism
3D Printer
Reciprocating
Eliptical Mechanism
Reciprocating
Sprinkler Mechanism
Quick Return
Reciprocating Mechanism
Reciprocating
Spring Loaded Mechanism
Reciprocating Mechanism
Using Electric Motor and Syringe
Reciprocating Mechanism
for Robot Arm
Reciprocating
Circle Mechanism
Design
and Construction of Reciprocating Engine
Large
Reciprocating Mechanism
Reciprocating
Hand Tool Mechanism
STL
Reciprocating Mechanism
Reciprocating Mechanism
Bearings
Flapping Wing
Mechanism
Reciprocating Cutting Mechanism
for Robot
Explore more searches like Reciprocating Mechanism Design
What
is
Rectilinear
Motion
Saw
Blade
People interested in Reciprocating Mechanism Design also searched for
Flow
Example
Yes or
No
Dump
Truck
Project
Drawing
Concept
Art
Adjustable
Diameter
Mechanical
Engineering
Autoplay all GIFs
Change autoplay and other image settings here
Autoplay all GIFs
Flip the switch to turn them on
Autoplay GIFs
Image size
All
Small
Medium
Large
Extra large
At least... *
Customized Width
x
Customized Height
px
Please enter a number for Width and Height
Color
All
Color only
Black & white
Type
All
Photograph
Clipart
Line drawing
Animated GIF
Transparent
Layout
All
Square
Wide
Tall
People
All
Just faces
Head & shoulders
Date
All
Past 24 hours
Past week
Past month
Past year
License
All
All Creative Commons
Public domain
Free to share and use
Free to share and use commercially
Free to modify, share, and use
Free to modify, share, and use commercially
Learn more
Clear filters
SafeSearch:
Moderate
Strict
Moderate (default)
Off
Filter
Reciprocating
Linear Motion
Reciprocating
Rack and Pinion
Reciprocating Mechanism
Reciprocating
Gear Mechanism
Shaping Machine
Mechanism
Reciprocating
Engine Parts
Slider Crank
Mechanism
Simple
Reciprocating Mechanism
Rotating
Mechanism Design
Reciprocating
Engine Diagram
Mechanical Motion
Mechanisms
Reciprocating
Pump Components
Reciprocating
Spring Mechanism
Reciprocating
Swing Mechanism
Reciprocating
Motor
Reciprocating
Pump Working
Reciprocal
Motion
Reciprocator
Mechanism
90 Degree Rotation
Mechanism
Reciprocating
Movement Design
Reciprocating
Engine Assembly
Long Stroke
Reciprocating Mechanism
Mechanical Linkages
Mechanisms
Reciprocating
Punch Mechanism
Reciprocating
Engine Model
Reciprocating
Belt Mechanism
Electronic
Reciprocating Design
Reciprocating
Examples
3D Printed
Reciprocating Mechanism
Reciprocating Mechanism
Tooling
Reciprocating
Cylinder
Rotary
Reciprocating Mechanism
Reciprocating Swing Mechanism
Step by Step
Short Stroke
Reciprocating Mechanism
Motorized Reciprocating
Arm Mechanism
Reciprocating Mechanism
3D Printer
Reciprocating
Eliptical Mechanism
Reciprocating
Sprinkler Mechanism
Quick Return
Reciprocating Mechanism
Reciprocating
Spring Loaded Mechanism
Reciprocating Mechanism
Using Electric Motor and Syringe
Reciprocating Mechanism
for Robot Arm
Reciprocating
Circle Mechanism
Design
and Construction of Reciprocating Engine
Large
Reciprocating Mechanism
Reciprocating
Hand Tool Mechanism
STL
Reciprocating Mechanism
Reciprocating Mechanism
Bearings
Flapping Wing
Mechanism
Reciprocating Cutting Mechanism
for Robot
725×453
Tinkercad
3D design reciprocating mechanism - Tinkercad
256×170
grabcad.com
reciprocating mechanism | GrabCA…
1078×809
makerworld.com
Reciprocating mechanism Remixed by user_308543360…
1400×1036
Behance
Reciprocating movement mechanism on Behance
Related Products
Reciprocating Saw Blades
Compressor Parts
Pneumatic Reciprocating …
1400×1367
Behance
Reciprocating movement mechanism on Behance
1000×749
makerworld.com
Reciprocating Mechanism Model by anismo - MakerWorld
640×480
grabcad.com
Free CAD Designs, Files & 3D Models | The GrabCAD Community Library
736×414
www.pinterest.com
Reciprocating Mechanism | Solidworks, Solidworks tutorial, Tutorial
640×480
grabcad.com
Free CAD Designs, Files & 3D Models | The GrabCAD Com…
640×480
grabcad.com
Free CAD Designs, Files & 3D Models | The GrabCAD Com…
700×333
mechstream.com
Cylinder Linear Reciprocating Mechanism - MechStream
480×360
www.pinterest.com
SIMPLE RECIPROCATING MECHANISM | MECHANICA…
Explore more searches like
Reciprocating Mechanism
Design
What is
Rectilinear Motion
Saw Blade
1920×1440
makerworld.com
Mechanical structure reciprocating mechanism by 夏至 MakerWorld: D…
640×480
grabcad.com
Free CAD Designs, Files & 3D Models | The GrabCAD Communit…
250×107
stlfinder.com
reciprocating mechanism 3D Models | Page 1 | STLFinder
725×453
tinkercad.com
3D design Linear Reciprocating Mechanism - SIM LAB - Tinkercad
725×453
tinkercad.com
3D design Smooth Reciprocating Mechanism - SIM LAB - Tinkercad
405×720
www.pinterest.com
Rotary to Reciprocating …
480×360
www.pinterest.com
Barrel cam assembly 2 - YouTube | Electronic circuit …
540×448
researchgate.net
Reciprocating mechanism designed for laser cuttin…
850×487
researchgate.net
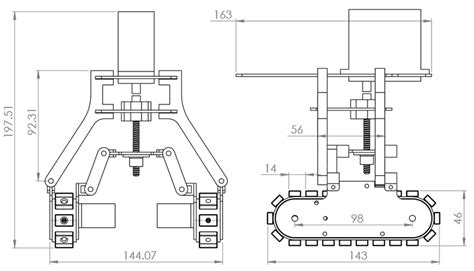
Reciprocating mechanism for robot transformation and specifications of... | …
696×414
semanticscholar.org
Figure 1 from Design of Reciprocating Rack and Pinion Mechanism Dual Working Mechanism ...
800×600
fity.club
Rotary To Reciprocating Motion With Quick Return Mechanism
850×1133
researchgate.net
(PDF) Analysis of Design Paramete…
489×331
3dmdb.com
Reciprocating Mechanism 3d model
630×370
www.reddit.com
Designing a reciprocating mechanism with adjustable stroke : r/AskEngineers
850×348
researchgate.net
Reciprocating mechanism for robot transformation on different surface:... | Downlo…
720×540
slidetodoc.com
Lesson 4 Reciprocating Engine Design and Construction Reci…
720×540
slidetodoc.com
Lesson 4 Reciprocating Engine Design and Construction Reci…
People interested in
Reciprocating
Mechanism Design
also searched for
Flow Example
Yes or No
Dump Truck
Project Drawing
Concept Art
Adjustable Diameter
Mechanical Engineering
720×540
slidetodoc.com
Lesson 4 Reciprocating Engine Design and Construction Reciprocating
850×719
researchgate.net
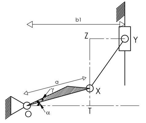
Reciprocating mechanism: a = 33.7mm, XY = 32mm, and γ = 12 …
1080×1920
www.pinterest.com
Reciprocating motion ในปี 2…
375×666
artofit.org
Reciprocating motion – Artofit
1500×1125
studypool.com
SOLUTION: Reciprocating engine design and construction - Studypool
1024×768
SlideServe
PPT - Lesson 4: Reciprocating Engine Design and Construction PowerPoin…
Some results have been hidden because they may be inaccessible to you.
Show inaccessible results
Report an inappropriate content
Please select one of the options below.
Not Relevant
Offensive
Adult
Child Sexual Abuse
Feedback